| |
|
|
|
| |
|
|
|
| |
|
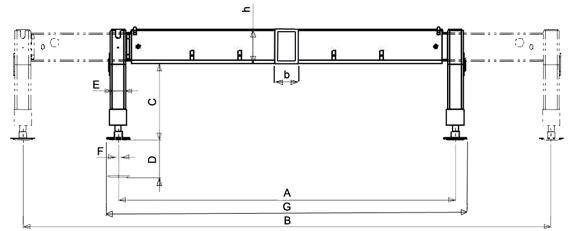
DATI TECNICI |
|
| |
|
| MODELLO |
IDONEA
PER GRU
Ton / m
(Dinamico) |
Kg |
A
mm |
G
mm |
C
mm |
D
mm |
E
mm |
F
mm |
h
mm |
b
mm |
| TSF 1800 - SF |
2 - 6 |
70 |
1827 |
1975 |
380 |
400 |
80 |
40 |
120 |
80 |
| TSF 1800 - SG |
2 - 6 |
75 |
1827 |
1975 |
380 |
400 |
80 |
40 |
120 |
80 |
| |
|
|
|
|
|
|
|
|
|
|
|
|
| |
|
Dati provvisiori e non impegnativi |
|
| |
|
|
|
| |
|
LEGENDA VERSIONI: |
|
| |
|
SF = stabilizzatori fissi |
|
| |
|
SG = stabilizzatori girevoli |
|
| |
|
|
|
| |
|
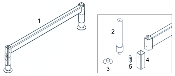
PRINCIPALI COMPONENTI |
|
 |
|
|
|
| |
LEGENDA: |
|
| |
1 - traversa principale |
|
| |
2 - cilindri stabilizzatori |
|
| |
3 - piattello di appoggio a terra |
|
| |
4 - troncone regolatore altezza stabilizzatore |
|
| |
5 - placca di sicurezza che blocca lo stabilizzatore sul troncone regolatore e sulla boccola |
|
| |
dello sfilamento laterale |
|
| |
|
|
| |
I martinetti possono essere regolati in altezza nella misura di 0 - 285 mm tramite taglio |
|
| |
parziale od eliminazione del componente numero 4. |
|
| |
|
|
|
 |
|
|
|
| |
|
|
| |
 |
|
| |
|
|
|
| |
|
|
|
|
|
|
|
| |
|
|
|
| |
|
DATI TECNICI |
|
|
|
| MODELLO |
IDONEA
PER GRU
Ton / m
(Dinamico) |
Kg |
A
mm |
G
mm |
C
mm |
D
mm |
E
mm |
F
mm |
h
mm |
b
mm |
| TSS 3300 - SMC |
6 - 21 |
185 |
2120 |
3320 |
2265 |
460 |
100 |
50 |
214 |
100 |
| TSS 3300 - SML |
6 - 21 |
190 |
2120 |
3320 |
2265 |
560 |
100 |
50 |
214 |
100 |
| TSS 3300 - SIC |
6 - 21 |
205 |
2120 |
3320 |
2265 |
481 |
100 |
50 |
214 |
100 |
| TSS 3300 - SIL |
6 - 21 |
210 |
2120 |
3320 |
2265 |
581 |
100 |
50 |
214 |
100 |
| |
|
|
|
|
|
|
|
|
|
|
| |
|
|
|
|
|
|
|
|
|
|
|
|
| |
|
Dati provvisiori e non impegnativi |
|
| |
|
|
|
| |
|
LEGENDA VERSIONI: |
|
| |
|
SMC = sfilamenti manuali / martinetto corto |
|
| |
|
SML = sfilamenti manuali / martinetto lungo |
|
| |
|
SIC = sfilamenti idraulici / martinetto corto |
|
| |
|
SIL = sfilamenti idraulici / martinetto lungo |
|
| |
|
|
|
| |
|
PRINCIPALI COMPONENTI |
|
 |
|
|
|
| |
LEGENDA: |
|
| |
1 - traversa principale |
|
| |
2 - valvola di blocco |
|
| |
3 - tubazioni flessibili |
|
| |
4 - tubazioni rigide |
|
| |
5 - cilindri sfilamento bracci (modelli SI) |
|
| |
6 - cilindri stabilizzatori |
|
| |
7 - piattello di appoggio a terra |
|
| |
8 - sfilamenti laterali |
|
| |
9 - troncone regolatore altezza stabilizzatore |
|
| |
10 - placca di sicurezza che blocca lo stabilizzatore sul troncone regolatore e sulla boccola |
|
| |
dello sfilamento laterale |
|
| |
|
|
|
| |
|
I martinetti possono essere regolati in altezza nella misura di 0 - 285 mm tramite taglio |
|
| |
|
parziale od eliminazione del componente numero 9. |
|
| |
|
|
|
 |
|
|
|
| |
|
|
| |
|
|
| |
|
|
|
| |
|
|
|
| |
|
|
|
| |
|
|
|
| |
|
|
|
| |
|
|
|